Flagstaff Camper Wiring Diagram: Discover how to understand and maintain your camper's electrical system for improved safety and functionality.
Certainly! Here's an opening paragraph for an article about Flagstaff Camper Wiring Diagram:Flagstaff Camper Wiring Diagram is a crucial guide for owners seeking to understand and maintain their camper's electrical system. Whether you're a seasoned camper or new to the RV lifestyle, having a clear understanding of your Flagstaff camper's wiring diagram is essential for safety and functionality. This diagram provides a detailed overview of how different components in your camper are connected and powered, including lights, appliances, and accessories. Understanding this diagram can help you troubleshoot issues, make upgrades, or simply ensure everything is working as it should. In this article, we'll delve into the key aspects of the Flagstaff camper wiring diagram, offering insights and tips for camper enthusiasts at any level.
Top 10 Points about Flagstaff Camper Wiring Diagram :
- Untangling the Mystery: Deciphering Your Flagstaff Camper's Wiring Diagram
- Shocking Revelations: Understanding Electrical Systems in Your RV
- Wiring Woes: Common Issues and How to Fix Them
- Lighting the Way: Illuminating Insights into Camper Lighting Circuits
- Power Up: Navigating the Power Sources in Your Flagstaff Camper
- Plug and Play: Demystifying the Connection Points in Your RV
- DIY Delight: Simple Tips for Wiring Repairs and Upgrades
- Stay Grounded: Ensuring Your Camper's Electrical System is Safe and Secure
- Circuit Breaker 101: How to Handle Electrical Overloads in Your RV
- Future-Proofing Your RV: Wiring Tips for Modern Upgrades
Several facts about Flagstaff Camper Wiring Diagram
Introduction
The Flagstaff Camper Wiring Diagram is a crucial document for anyone looking to understand the electrical system of their RV. This diagram provides a detailed overview of how different components in the camper are connected and powered, including lights, appliances, and accessories. Understanding this diagram is essential for troubleshooting issues, making upgrades, or ensuring everything is working as it should.
Electrical Components
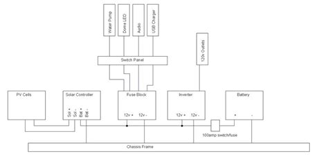
The Flagstaff Camper Wiring Diagram includes information about various electrical components such as batteries, converters, and inverters. These components play a crucial role in powering different systems in the camper, including lighting, appliances, and entertainment systems.
Wiring Circuits
Flagstaff Camper Wiring Diagram also provides details about the wiring circuits in the camper. These circuits are responsible for distributing power to different parts of the camper, ensuring that everything functions properly.
Lighting Systems
The diagram includes information about the lighting systems in the camper, including how the lights are connected and powered. This information is crucial for understanding how to troubleshoot and repair any issues with the lighting.
Power Sources
The Flagstaff Camper Wiring Diagram also provides details about the different power sources available in the camper, including shore power, generator, and solar panels. Understanding these power sources is essential for ensuring that the camper has a reliable source of power.
Upgrades and Modifications
With a clear understanding of the Flagstaff Camper Wiring Diagram, owners can easily make upgrades or modifications to the electrical system. Whether it's adding new appliances or upgrading the lighting, having a comprehensive wiring diagram is essential.
Safety Considerations
Finally, the Flagstaff Camper Wiring Diagram includes important safety considerations for owners. This includes information about proper grounding, circuit protection, and other safety measures that should be taken when working with the electrical system.
Conclusion
In conclusion, the Flagstaff Camper Wiring Diagram is an invaluable resource for anyone looking to understand their RV's electrical system. By familiarizing yourself with this diagram, you can ensure that your camper is safe, functional, and ready for your next adventure.
Flagstaff Camper Wiring Diagram in Professional's eye
Wiring diagrams are essential documents that provide detailed information about the electrical systems in various vehicles and equipment, including recreational vehicles (RVs) like the Flagstaff camper. These diagrams use symbols to represent the components and connections in the electrical system, making it easier for technicians and owners to understand how everything is wired. The Flagstaff Camper Wiring Diagram is particularly important for owners and technicians to ensure that the camper's electrical system is properly maintained and functions as intended.






Point of Views : Flagstaff Camper Wiring Diagram
- Wiring diagrams are indispensable tools for understanding the complex electrical systems found in vehicles and equipment, including recreational vehicles like the Flagstaff camper.
- These diagrams use standardized symbols to represent components and connections, enabling technicians and owners to decipher the intricacies of the electrical system with ease.
- The Flagstaff Camper Wiring Diagram is particularly crucial for ensuring the proper functioning and maintenance of the camper's electrical setup.
- By providing a visual representation of how components are connected and powered, the diagram aids in troubleshooting issues and making upgrades.
- Understanding the symbols and color codes used in the wiring diagram is essential for correctly interpreting the diagram and avoiding errors.
- Labels and annotations on the diagram provide additional information about specific components, helping users navigate the complexity of the electrical system.
- Overall, the Flagstaff Camper Wiring Diagram serves as a comprehensive guide for anyone looking to gain a deeper understanding of their camper's electrical system.
- By studying the diagram, owners and technicians can ensure that the electrical system is safe, functional, and ready for the next adventure.
Conclusion :In conclusion, exploring the intricacies of the Flagstaff Camper Wiring Diagram can greatly enhance your understanding of your RV's electrical system. By familiarizing yourself with the symbols, color codes, and annotations used in the diagram, you can confidently tackle maintenance tasks and troubleshooting challenges. Whether you're a seasoned camper or new to the RV lifestyle, having a comprehensive understanding of your camper's electrical system is essential for a safe and enjoyable experience on the road.
As you continue to explore the world of RVing, refer back to the Flagstaff Camper Wiring Diagram as a valuable resource. Whether you're planning upgrades, troubleshooting issues, or simply curious about how your camper works, the wiring diagram provides a roadmap to the electrical heart of your Flagstaff camper. With this knowledge in hand, you can embark on your next adventure with confidence, knowing that your camper's electrical system is in top-notch condition.
Questions and Answer for Flagstaff Camper Wiring Diagram
When it comes to the Flagstaff Camper Wiring Diagram, people often have several questions. Here are some of the most common queries:
- 1. What is a wiring diagram?
- 2. Why is the Flagstaff Camper Wiring Diagram important?
- 3. Where can I find the Flagstaff Camper Wiring Diagram?
- 4. How do I read a wiring diagram?
- 5. Can I make modifications to my camper's electrical system?
A wiring diagram is a visual representation of the electrical system in a vehicle or piece of equipment. It uses symbols to show how components are connected and powered.
The Flagstaff Camper Wiring Diagram is crucial for understanding how the camper's electrical system is wired. It helps owners and technicians troubleshoot issues, make upgrades, and ensure everything is working correctly.
The Flagstaff Camper Wiring Diagram is typically included in the camper's owner's manual. It can also be found online or obtained from the manufacturer.
Reading a wiring diagram involves understanding the symbols and color codes used to represent components and connections. It's essential to follow the legend or key provided with the diagram.
Yes, but it's crucial to follow the wiring diagram and ensure that any modifications are done safely and in compliance with local regulations.
Label :Flagstaff Camper, Wiring Diagram, Electrical System
Keyword : Flagstaff Camper Wiring Diagram
0 komentar